Platine d'extrémité STA F 80


Application

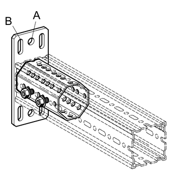
Platine avec support soudé raccordable au profil carré, consoles ou console-platines de la gamme siFramo 80, pour la construction de traverses ou d'autres structures. Grâce aux trous ronds de la plaque de base, une connexion directe aux canaux d'ancrage intégrés est possible.


Assemblage

Différentes méthodes d'installation peuvent être envisagées en fonction de la structure à réaliser:

a) Connexion au profil carré type F 80 à l'aide de 4 vis auto-formeuses FLS F.
b) Montage sur rails inserts par le biais de doubles-écrous ou d'écrous-rails et boulonnerie appropriés.

Le profil TP F 80/80 à monter sur la platine STA F 80 se fixe à l’aide de 4 vis autoformeuses FLS F. Installer 2 vis FLS F par côté sur deux faces opposées.


Caractéristique techniques STA F 80 Framo Supportage

Type Dimensions de la platine (mm) A (mm) B (mm) H (mm)
STA F 80 190 X 80 X 8 14 20 X 11 148
STA F 80-E 165 X 80 X 8 - 20 X 11 148

Configuration : Platine soudée sur profil framo supportage carré F 80
Matière :
Platine : Acier HCP
Profil octogonal F 80 : Acier HCP


Homologations STA F 80 Framo Supportage

Marquage CE

Réference Type Poid (kg/m) Conditionnement (pièce)
192856 STA F 80 1.6 1
192863 STA F 80-E 1.5 1